Affiliate links on Android Authority may earn us a commission. Learn more.
Samsung imagines a Galaxy Ring that can control screens and move files with a flick of your finger
February 4, 2025

- Samsung’s new patent suggests the Galaxy Ring could control screens and transfer data between devices like smartphones, laptops, and tablets in the future.
- While there’s no guarantee the feature will be released on an upcoming model, it hints at exciting possibilities for Samsung’s smart ring beyond fitness tracking.
The Galaxy Ring is a fairly new device for Samsung, and right now, its abilities are limited to that of a fitness wearable. However, Samsung is imagining a future where the Galaxy Ring could do a lot more than just measure your heart rate and analyze your sleep.
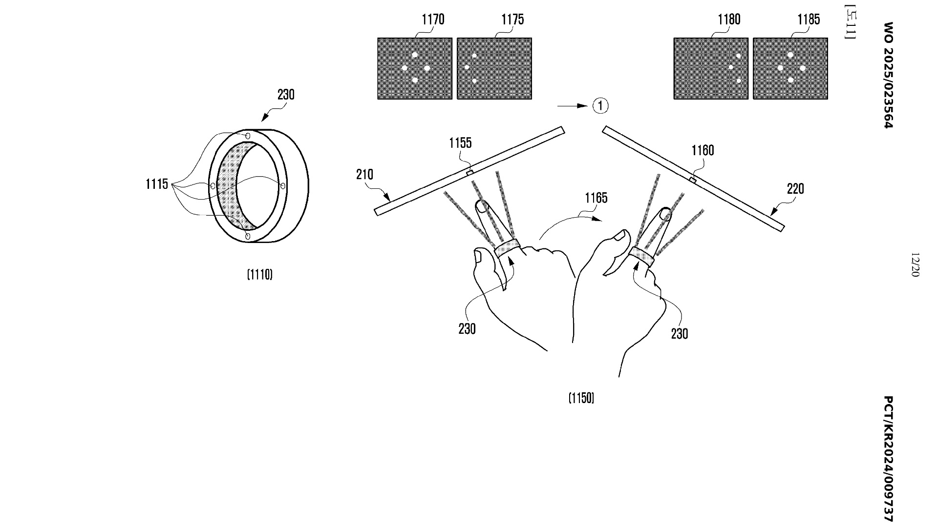
According to a recently published Samsung patent (h/t 91Mobiles), the company is considering giving the Galaxy Ring the ability to control and transfer data between connected displays like smartphones, laptops, and tablets. The patent describes this as a screen control method using an input device, the latter being a smart ring.
Samsung’s patent illustrations reveal a Galaxy Ring-like wearable wirelessly connected to a laptop and tablet. The concept hints at a future where you could effortlessly control screens and transfer data between devices using the wearable. Imagine shifting files, apps, and more from one display to another with nothing more than a flick of your finger.
This isn’t the first time we’ve seen a patent describing possible future capabilities Samsung is exploring for the Galaxy Ring. In a previous patent, Samsung detailed a smart ring designed to automatically adjust its size, using pressure from the wearer’s body to ensure a perfect fit.
While these innovations offer an exciting glimpse into the future of Galaxy Rings, there’s no guarantee these features will appear in the next model or future versions. However, given their practicality, we certainly hope Samsung finds a way to bring them to life.
Interestingly, Samsung notes in the patent description that while the input device may include a smart ring that can be worn on a body part, it is not limited thereto and may be any type of input device, such as an electronic pen. That means Samsung is also possibly looking at giving the S Pen similar wireless controls and data transfer capabilities.
Thank you for being part of our community. Read our Comment Policy before posting.