Affiliate links on Android Authority may earn us a commission. Learn more.
Samsung dual-camera tech patent could improve capture of moving images

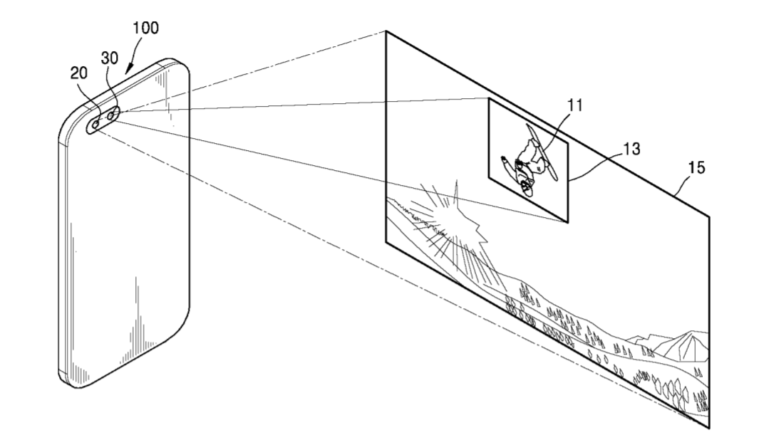
Samsung has submitted a patent application for a dual-camera configuration which employs a telephoto lens and wide-angle camera. The patent filing, which was submitted in March 2016, was made public on December 29 and concerns a technology which would allow smartphones to more precisely capture moving images.
The process, titled “Digital Photographing Apparatus and Method of Operating the Same,” would use a wide-angle lens to capture a broad scene while the telephoto lens would be able to track a moving subject independently.

For example, if you were to take a photo of a street scene and a cyclist rode past, the telephoto lens would, in theory, capture the cyclist with a clarity similar to the static background.
The process is also said to work for videos, with the telephoto lens identifying and tracking the moving subject in real-time, without the user making any manual adjustment to the camera’s focus or settings.

The implication is that moving elements or objects in photos and videos would be captured with detail which isn’t currently possible on smartphones.
Though the patent filing was submitted early last year, it’s unclear when (or if) the technology will make it into a smartphone. It may be too soon for implementation in the Galaxy S8, but usage in the potential Galaxy Note 8 is a possibility.
Thank you for being part of our community. Read our Comment Policy before posting.