Affiliate links on Android Authority may earn us a commission. Learn more.
Samsung patent reveals camera-wielding S-Pen fit for James Bond

- A newly granted Samsung patent has revealed an S-Pen with a camera.
- The camera also offers optical zoom capabilities, and can be controlled via a key on the stylus.
- The camera could potentially allow Samsung to make a full-screen display without a selfie camera.
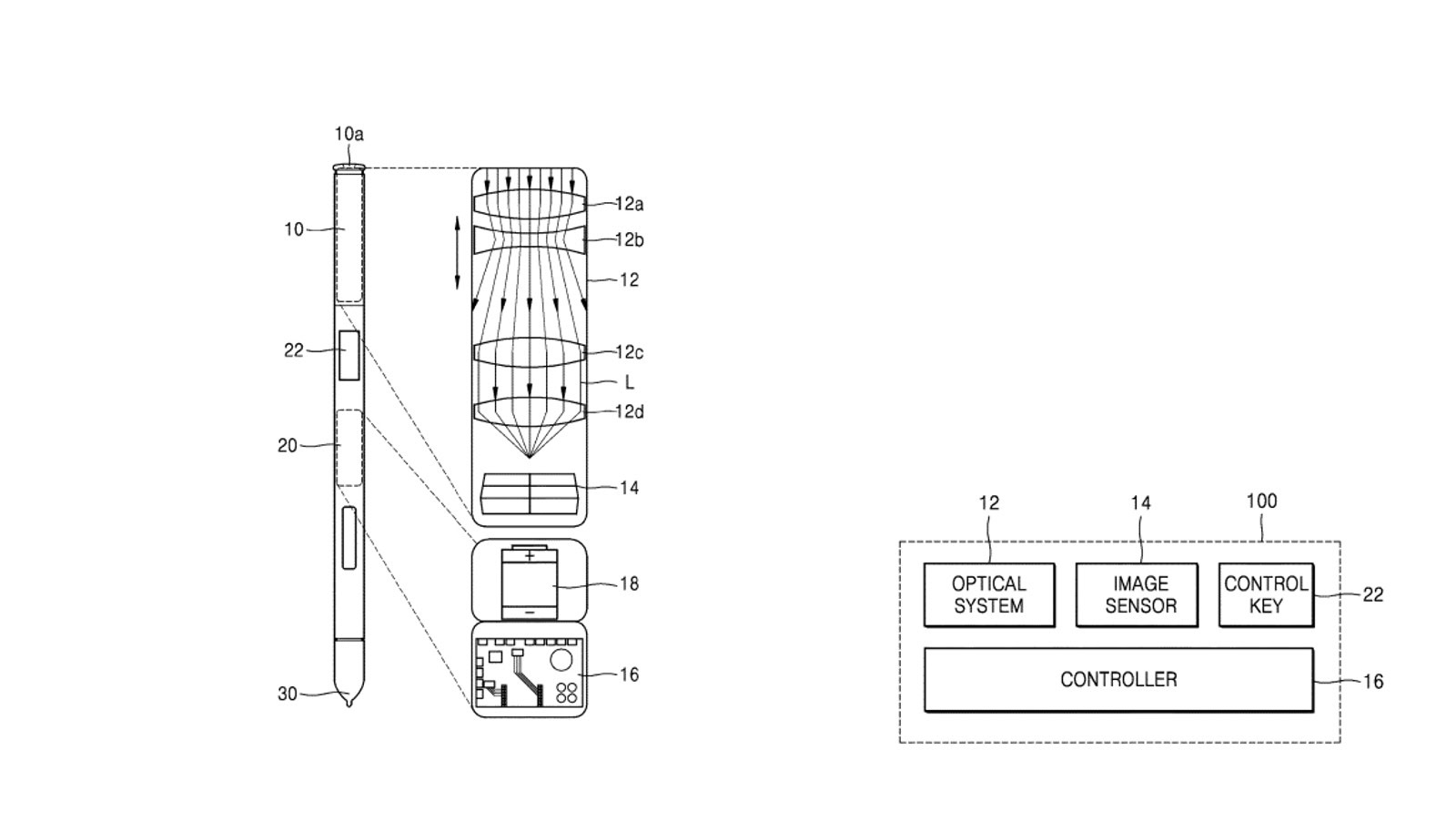
Samsung’s Galaxy Note 9 delivered a significantly upgraded S-Pen, using Bluetooth to enable a variety of features. But the Korean company could have bigger plans for the stylus, judging by a newly granted patent.
The patent, spotted by Patently Mobile (via Android Police), reveals an S-Pen with a camera in the top section. Furthermore, this camera is equipped with an optical zoom system, which should provide better quality shots in theory than digital zoom. Samsung’s patent also moots a key on the S-Pen to control the camera’s zoom.
The patent suggests the new S-Pen would have a battery, treading similar ground as the Note 9’s stylus. Samsung’s last S-Pen used a supercapacitor to quickly charge the device via the stylus slot. But an S-Pen with camera hardware would likely be pretty expensive compared to previous versions, so you definitely don’t want to lose it.

It’s unclear how this S-Pen camera would be used, but one possibility is that Samsung could ditch the selfie camera on smartphones. By doing this, the company opens the door for a proper full-screen display without a notch or punch-hole design. However, I would imagine that video calls would be mildly annoying via the S-Pen camera, as you’d need to hold the stylus up for the duration of the call.

Another possibility is that the stylus camera could be used for productivity tasks, such as optical text recognition. This could be ideal when taking notes during a meeting or lecture, allowing users to snap a photo of a presentation slide via the S-Pen to convert it to text, much like Google Lens and Microsoft’s Office Lens.
A third potential use-case is general photography, allowing users to take a few photos in a more seamless manner. This way, you can quickly take shots while the phone is still in your pocket or bag.
It’s unclear if/when we can expect this tech in a new smartphone (although the patent mentions support for notebooks and monitors too). But given the fact that this was only approved yesterday, don’t hold your breath for an imminent release.
Thank you for being part of our community. Read our Comment Policy before posting.